2026 年 4 月 3 日有色金属市场日评:节前稳盘,分化延续
今日为清明假期前最后一个交易日,市场整体交投偏谨慎,呈现 “贵金属续弱、小金属分化、钨市横盘企稳” 的格局。钨矿如期止跌横盘,符合节前资金观望特征;多数品种延续昨日偏弱节奏,但跌幅收窄,部分小金属维持强势。

一、贵金属:外盘深跌、内盘抗跌,避险退潮延续
1. 黄金
国际:伦敦金现4674.95 美元 / 盎司,跌 110.4 美元,跌幅 - 2.29%
日内区间:4553.24–4797.79 美元 / 盎司,冲高回落、尾盘走弱
国内:黄金 T+D 1033.0 元 / 克,跌 0.5 元,跌幅 - 0.04%
沪金主连1033.7 元 / 克,跌 - 0.74%

行情分析:
美联储降息预期持续降温、美元与美债收益率走强,叠加中东局势阶段性缓和,避险资金大规模流出,国际金价大幅回调。国内金价表现显著抗跌,1025–1030 元 / 克买盘承接较强,资金逢低吸纳对冲外盘跌幅。
趋势判断:
短期国际金价4550 美元为短线支撑,若失守或下探 4500 美元;国内强支撑 1020 元 / 克。节前以弱势震荡为主,节后关注非农与美联储讲话指引。
2. 白银
国际:伦敦银现72.91 美元 / 盎司,跌 2.91 美元,跌幅 - 3.82%
国内:白银 T+D 17944 元 / 千克,跌 - 1.15%
沪银主连17843 元 / 千克,跌 - 2.78%

行情分析:
白银波动大于黄金,工业属性叠加贵金属属性双重承压。光伏、电子需求未明显放量,资金避险流出主导跌势。国内相对抗跌,17800 元 / 千克附近有支撑。
趋势判断:
短线70 美元 / 盎司、国内17500 元 / 千克为关键支撑;上方75 美元压力明显,弱势震荡为主。
二、钨:跌破百万后首次横盘,节前观望、跌势暂歇
核心价格(SMM / 上海有色网,4 月 3 日)
65% 黑钨精矿:97.5–98.0 万元 / 标吨,均价 97.75 万元 / 吨
较昨日持平(0 元 / 吨变动)
65% 白钨精矿:97.4–97.9 万元 / 标吨,均价 97.65 万元 / 吨
较昨日持平
仲钨酸铵(APT):145–147 万元 / 吨,均价 146 万元 / 吨
较昨日持平

行情分析
今日钨价结束连续阴跌、首次横盘企稳,符合“周五 + 清明休市” 的节前特征:
前期连续下跌:自 3 月中旬高点(约 105 万元 / 吨)回落,连续多日下跌 + 横盘,昨日正式跌破百万关口。
今日横盘原因:
节前资金离场、交投清淡,买卖双方均观望。
价格跌至97–98 万区间,矿山惜售、低价出货意愿下降;下游按需采购、不追跌也不囤货。
供给端:国内钨矿指标收紧、环保限产仍在;需求端:光伏钨丝、硬质合金刚需仍存,深跌空间受限。
趋势判断
短期(节后):大概率95–99 万元 / 吨区间震荡。
支撑:95 万元 / 吨(矿山成本 + 惜售线)
压力:100 万元 / 吨(心理关口,套牢盘重)
中期:供需紧平衡未破,大跌难、大涨更难,以震荡筑底为主。
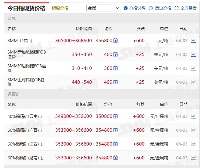
三、锡:续跌但跌幅收窄,节前弱修复
价格数据
沪锡主连(收盘):365259 元 / 吨,跌 2840 元,跌幅 - 0.77%
日内:358600–368660 元 / 吨,探底回升
上海有色 1# 锡:366800 元 / 吨,涨 600 元

行情分析:
电子淡季、消费电子采购疲软,叠加前期高位获利盘了结,锡价延续回调。但跌幅较昨日明显收窄,节前抛压减轻,35.8 万附近有买盘试探。
趋势判断:
短线35.5–37.5 万元 / 吨宽幅震荡。关注缅甸进口、印尼产能及下游 PCB / 半导体订单变化。
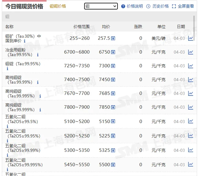
四、钽:高位坚挺、小幅上行,供需缺口支撑最强
价格数据
钽锭(≥99.95%):7850–7950 元 / 千克,均价 7900 元 / 千克
较昨日 + 50 元 / 千克
五氧化二钽:7650–7750 元 / 千克,均价 7700 元 / 千克
较昨日 + 50 元 / 千克

行情分析:
全球钽供给受刚果(金)矿区塌方、伊朗航运受阻影响,15–20% 供应受限;AI 服务器、半导体钽电容需求爆发,供需缺口持续扩大。在普跌环境中逆势偏强,表现最稳。
趋势判断:
短期8000 元 / 千克为下一看涨目标,强势格局不改。
五、铌:稳中小涨,联动钽偏强
价格数据
铌锭(≥99.95%):735–745 元 / 千克,均价 740 元 / 千克
较昨日 + 5 元 / 千克
铌铁(60% Nb):27.25–27.75 万元 / 吨,均价 27.5 万元 / 吨
较昨日 + 0.25 万元 / 吨

行情分析:
供给高度集中(巴西占 85%)、价格弹性小;受钽价上涨替代效应带动,钢铁、高温合金需求平稳,稳中小涨。
趋势判断:
温和上行、低波动,跟随钽价偏强运行。
六、铝:小幅回调,外强内弱、支撑仍在
价格数据
长江现货 A00 铝:24510 元 / 吨,跌 120 元
沪铝主连:24715 元 / 吨,跌 - 0.62%
LME 铝:3505 美元 / 吨,小幅走弱
行情分析:
国内产能释放、库存小幅累积,叠加节前获利了结,小幅回调。但中东铝厂减产(年化约 110 万吨)、LME 库存低位,外盘强支撑国内,跌幅有限。
趋势判断:
24300–25000 元 / 吨震荡。支撑:24300 元 / 吨;压力:25000 元 / 吨。
七、今日整体市场总结(4 月 3 日 周五)
整体格局:普跌收敛、分化明显、节前稳盘。
贵金属偏弱、小金属强弱分化、钨市首次横盘止跌、锡铝续跌但跌幅收窄、钽铌逆势偏强。

钨市核心结论:
连续下跌后跌破百万并首次横盘,属节前正常观望,非反转信号。
供给收紧、需求未崩→ 深跌空间有限
高位套牢、下游谨慎→ 反弹压力大
节后大概率95–99 万区间震荡筑底。
操作与展望:
节前以观望、控仓为主;贵金属偏空、钨锡震荡、钽铌偏强。
清明假期后重点关注:
钨矿:95 万支撑 / 100 万压力
贵金属:美联储政策、中东局势
小金属:钽供给恢复、锡下游订单



评论