豪宅遇冷 刚需逆袭 新房市场是在憋大招?

chengsenw 网络营销评论1阅读模式

豪宅遇冷 刚需逆袭 新房市场是在憋大招?

豪宅遇冷 刚需逆袭 新房市场是在憋大招?
三月上旬,本该是“小阳春”预热的时候,市场却静得让人心慌。但仔细一看,这平静下面藏着暗流——豪宅门可罗雀,郊区刚需盘却卖得飞起,上海新房市场正在上演一处“怪相”。

三月上旬:富人集体躺平,刚需偷偷进场

如果单看内环的豪宅盘,会觉得有种“凉了”的感觉。
数据显示,2月上海新建商品住宅成交面积仅13.9万平方米,环比腰斩。这种低迷,直接延续到了3月上旬。更关键的是,单价10万+的项目几乎无人问津,那些以往被抢破头的核心区豪宅,突然集体“失声”,众所周知,这类产品往往是支撑全市均价的重要力量。
但诡异的是,外环外和郊区的刚需盘却卖疯了。
保利虹桥和颂、建发·朗玥这类总价友好的项目,稳居2-3月上旬成交套数TOP5。金山新城的建发瑞湖,作为远郊改善盘,开盘去化率达35%以上,后续网签持续走高,表现亮眼。富人躺平,刚需进场——这是三月上旬最真实的写照。

新政这剂猛药,到底激活了谁?

2月26日,“沪七条”落地,市场瞬间被激活。
这套组合拳有多狠?非沪籍社保年限从3年直接砍到1年,公积金贷款额度最高拉到324万,持居住证满5年直接全市买房。据测算,仅社保年限缩短这一项,就新增了超过9万人的购房资格。效果立竿见影。
3月11日,上海新房单日签约733套,较3月上旬日均签约量接近翻倍。二手房表现更为亮眼:3月第二周(3月9日—15日)成交7233套,创下2021年以来周度成交新高;3月14日单日成交1472套,与3月15日合计2862套,刷新近五年周末成交峰值。
但这里有个细节值得玩味:被激活的,主要是谁?
豪宅遇冷 刚需逆袭 新房市场是在憋大招?
数据显示,300万以下的二手房成交占比从去年1月的59%,一路飙到今年3月(截止15日)的73%。换句话说,这波行情的主力军,是那些真正需要“上车”的刚需客。
更有意思的是,二手房挂牌量在大幅下降。截至3月16日,上海二手房周度挂牌量较去年6月下降22.23%,其中500万以下的房源降幅最猛。这说明什么?低总价房源正在被市场快速消化,而且不少房东选择“由售转租”——因为租金回报率已经超过2%,有些甚至突破3%。
刚需进场,房东惜售,租金回报率成为新锚点——这才是新政后的真实图景。

豪宅遇冷,不是没人买,而是人去了哪儿?

再看豪宅市场,情况就复杂了。
表面上看,单价10万+的项目成交惨淡。但仔细扒数据会发现,成交金额榜上,华润澐启滨江、陆家嘴太古源·源邸这些核心区豪宅依然霸榜。这说明什么?不是豪宅没人买,而是买家在挑——地段、产品、品牌,一个都不能少。
浦东前滩、张江、金桥这些产业强区,高端改善盘照样走得动。反倒是那些地段一般、产品平庸的所谓“豪宅”,被市场直接抛弃。
这背后是一个深刻的转变:上海楼市正在从“闭眼买”进入“用脚投票”的时代。
以前是“买到就是赚到”,现在是“买对才算赢”。那些真正具备稀缺性——核心地段、优质产品力、良好物业服务的项目,依然有高净值人群买单;而那些只有价格没有价值的项目,只能坐冷板凳。

憋大招?下旬供应要爆了

如果说上旬是“需求在观望”,那么下旬就是“供应要爆发”。
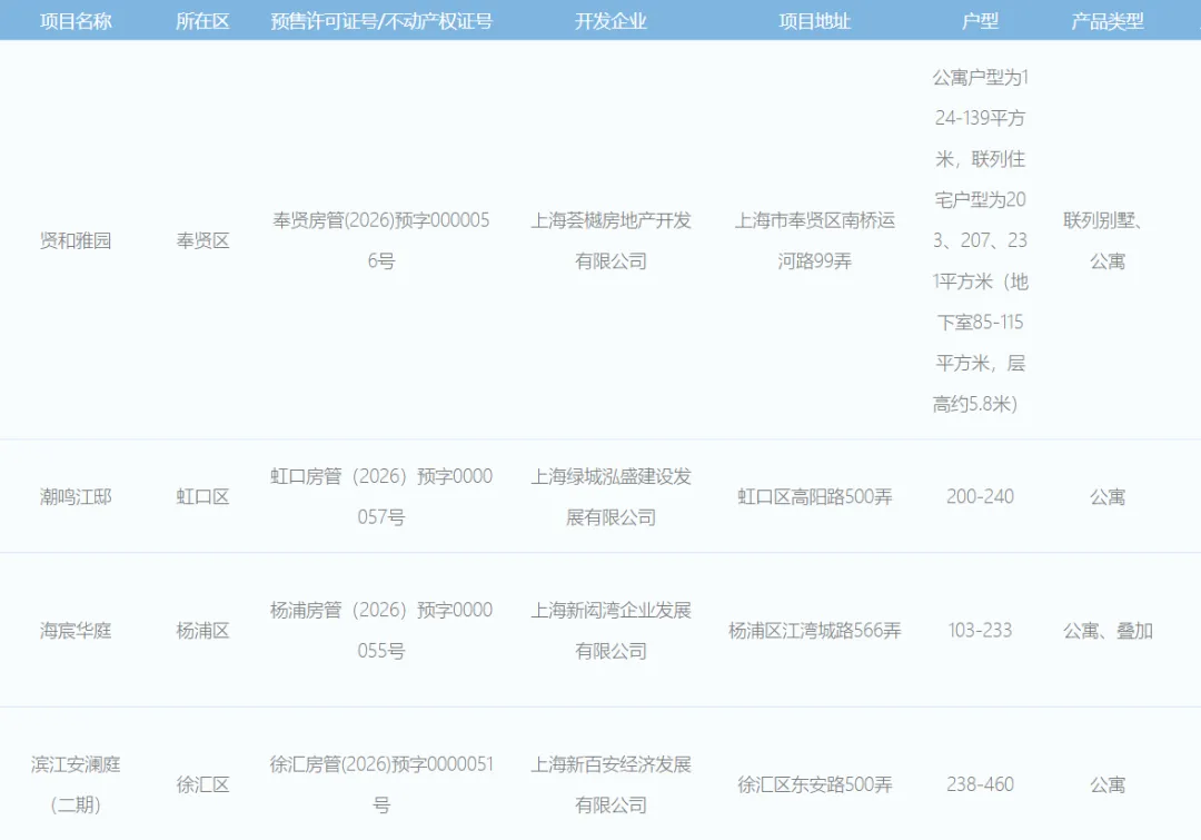
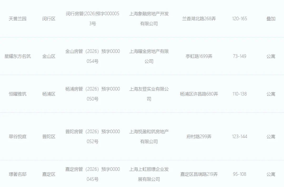
截至3月19日,上海已有14个新项目公示下旬认筹,供应即将集中入市。其中包括绿城·潮鸣外滩、安澜上海等顶豪项目,但两盘均少量推盘,以试水为主。
豪宅遇冷 刚需逆袭 新房市场是在憋大招?
豪宅遇冷 刚需逆袭 新房市场是在憋大招?
豪宅遇冷 刚需逆袭 新房市场是在憋大招?
开发商憋了整整一个2月——当月新增供应仅5.2万平方米,环比锐减80.2%——现在终于等到了政策暖风,怎么可能不冲?
更重要的是,供应结构变了。
2026年的新房市场明显向“改善型”倾斜,建面140㎡以上户型占比飙升至60%以上。刚需小户型基本退守外环外。这个产品策略很聪明:既符合政策导向(支持改善需求),又匹配了当前主力客群的购买力。
500万至800万总价段仍是成交主导,但900万以上改善产品的占比正在持续提升。那些品质过硬、地段不错的中产改善盘,很可能在3月下旬迎来一波集中释放。

分化才是主旋律:不是所有区域都能“吃肉”

但别高兴太早。即便下旬供应爆发,市场也不会全面回暖。
外环及郊区——松江、青浦、宝山这些地方——大概率是这波行情的赢家。刚需和中产改善需求稳定,配套成熟、交通便利的板块,低总价房源成交周期明显缩短。2月成交面积前三的区域——浦东、金山、宝山——合计占了总成交的40%以上,这个趋势3月只会强化。
内环核心区则面临挑战。虽然黄浦复兴珑御、翠湖天地这些标杆项目挂牌价比备案价涨了40%以上,但整体成交依然低迷。买家议价权在增强,高端市场呈现出典型的“有价无市”。
浦东新区则展现出强大的产业支撑力。前滩、张江、金桥这些板块,靠产业集聚和人才导入,形成了内生性的购房需求,成了高端改善市场的稳定器。
结论很清晰:同样的预算,在不同板块,可能买到完全不同的居住体验和资产保值效果。

“小爆发”概率高,但别幻想普涨

综合来看,3月下旬上海新房市场迎来一轮“小爆发”的概率很高。政策、需求、供应三重因素共振,为市场提供了向上的动力。
但本轮小阳春有明确边界:
第一,这是“点状复苏”,不是全面回暖。优质项目和核心板块先受益,平庸产品依然难卖。
第二,这是“量升价稳”,价格大幅上涨的可能性不大。市场仍处于筑底阶段,以价换量是主旋律。
第三,这是“结构性机会”,改善型产品是主力。刚需需求释放的同时,改善需求的接力是关键。
广发证券的判断值得参考:今年首轮供应高峰会在小阳春之后第三周左右出现。也就是说,3月下旬到4月上旬,才是真正的“决战时刻”。
二手房先行回暖的传导效应正在显现——“卖旧买新”的链条已经打通,这是最健康的市场传导机制。3月底长宁区内环内那宗“压箱底”地块的出让,将成为观察土地市场风向的重要窗口。
政策底已现,但市场底还在反复确认中。上海楼市已从普涨时代进入分化时代,回归居住属性,这轮行情,是给有准备的人的。
豪宅遇冷 刚需逆袭 新房市场是在憋大招?

 
chengsenw
  • 本文由 chengsenw 发表于 2026年3月19日 12:38:41
  • 转载请务必保留本文链接:https://www.gewo168.com/15443.html
匿名

发表评论

匿名网友

:?: :razz: :sad: :evil: :!: :smile: :oops: :grin: :eek: :shock: :???: :cool: :lol: :mad: :twisted: :roll: :wink: :idea: :arrow: :neutral: :cry: :mrgreen: