流动性,才是市场的“指挥官”.

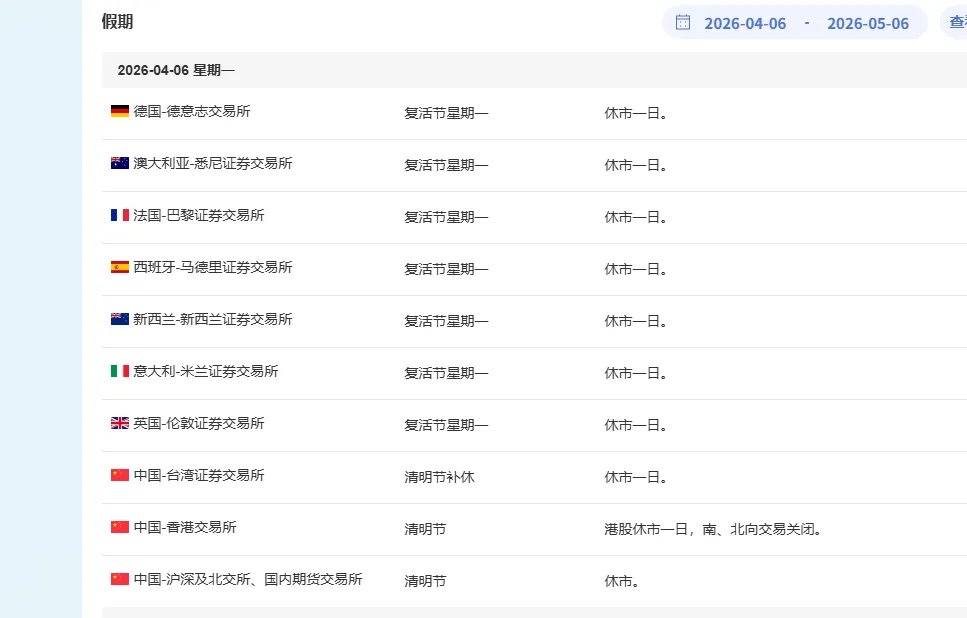
你有没有注意过,每年三四月,总有那么一两天,全球主要股市集体“停摆”,连外汇和黄金交易也变得异常冷清?
这背后并非什么神秘力量,而是一个纯粹的市场流动性问题。
国际金融市场的运行高度依赖几个核心交易中心——尤其是美国纽约和英国伦敦。
当这两个市场的交易所宣布休市时,全球超过一半的交易量就消失了。
耶稣受难日和复活节,正是英美两国的法定假日,纽交所、纳斯达克、伦交所全部关门。
问题来了:其他市场能不能自己接着玩?
答案是很难。想象一下,一场球赛没了主裁判和大部分球员,还能正常进行吗?
金融市场也一样——股票、债券、外汇、黄金的定价和清算,都深度绑定在英美体系中。
当核心参与者缺席,市场就会陷入“流动性枯竭”:买卖订单稀少,价差急剧扩大,一个普通的交易指令就可能引发价格剧烈波动。
理性的机构投资者会主动避开这种日子,于是,休市成了唯一务实的选择。
那么,放假对外汇和黄金市场具体有什么影响?
严格来说,外汇市场是24小时场外交易,没有统一的“关门”概念。但在耶稣受难日,全球各大银行和交易机构的假期部门几乎全部关闭。
市场就像一条高速路——没有封路,但几乎见不到车。这时候如果你强行交易,会发现点差(买卖价差)异常扩大:平时1个点的欧元兑美元,可能扩大到5-10个点,交易成本瞬间翻了好几倍。
黄金市场的情况类似。伦敦是全球黄金现货交易的定价中心,当伦敦休假,黄金的流动性会骤降90%以上。
你可能会看到报价跳动不连贯、出现异常的跳空缺口,甚至几分钟内没有成交。互动一下:假设你在这一天挂了一个黄金卖出单,很可能成交价比正常市价低了一截——不是系统出了问题,而是根本没有足够的买家来接盘。
金融市场的假期安排,本质上是对流动性的集体妥协。
当主要交易中心放假,全球市场要么跟着休息,要么陷入一个“开着门却没人交易”的尴尬状态。与其在异常环境下承担不必要的成本和风险,不如默契地按下暂停键——节后见,届时流动性恢复,市场才能真正平稳运行。


评论