第01章 计算机系统知识
1.1 计算机硬件基础知识
-
运算器:与控制器一同集成在CPU中
-
控制器:与运算器一同集成在CPU中
-
存储器:主存储器,如内存;辅助存储器,如外存
-
内存:速度快,容量小,一般用于存放临时程序和数据
-
外存:容量大,速度慢,可长期存放程序和数据
-
输入设备:键盘,鼠标
-
输出设备:显示器,打印机...
1.1.1 中央处理单元 CPU
CPU功能:程序控制,操作控制,时间控制,数据控制
在现实的硬件构成中,控制单元和运算单元被集成为一体,封装为通常意义上的处理器(但处理器并不是只有上述两部分),具体如下:

一、运算器
-
算术逻辑单元 ALU:数据的算术运算和逻辑运算
-
累加寄存器 AC:通用寄存器,为ALU提供工作区,用来暂存中间结果或操作数
-
数据缓冲寄存器 DR:写内存时,暂存指令或数据
-
状态条件寄存器 PSW:存状态标志与控制标志
注:PSW归属于运算器还是控制器存在争议
二、控制器
-
程序计数器 PC:存储下一条要执行的指令地址
-
指令寄存器 IR:存储正在执行的指令
-
地址寄存器 AR:存储CPU正在访问的内存地址
-
指令译码器 ID:存储指令的操作码
-
时序部件:提供时序控制信号
三、寄存器组
-
专用寄存器:运算器和控制器中的寄存器都是专用寄存器
-
通用寄存器:用途广泛,可由程序编写人员控制
四、多核CPU
-
在一个芯片上集成多个处理器内核
-
每个内核都有自己的逻辑单元、控制单元、中断处理器、运算单元、L1、L2
1.1.2 存储器
存储器分类
一、按存储器位置分类:
-
寄存器
-
Cache体系:片上缓存,如L1,L2,L3;片外缓存,已过时
-
内存
-
外存
二、按存取方式分类:
-
按内容存取:相联存储器;Cache
-
按地址存取:随机存取存储器(内容);顺序存取存储器(磁带);直接存取存储器(磁盘)
三、按工作方式分类:
-
读写存储器RAM,内存DRAM,掉电内容丢失,定时刷新
-
只读存储器ROM,BIOS
-
固定只读 ROM
-
可编程的只读 PROM
-
可擦除可编程的只读 EPROM
-
点擦除可编程的只读 EEPROM
-
闪速存储器 Flash Memory
四、按材料分类:
-
磁存储器
-
半导体存储器
-
光存储器
五、按寻址方式分类:
-
随机存储器 RAM
-
SDRAM、SDR SDRAM、DDR SDRAM、DDR2 SDRAM、DDR3 SDRAM、 DDR4 SDRAM、...
-
静态:SRAM,速度快,价格高,常用于Cache
-
动态:DRAM,常用于主存
-
顺序存储器 SAM
-
直接存储器 DAM
六、其他概念:
-
RAM:随机存取存储器,持续电力提供,可随机读写
-
SRAM:静态随机存取存储器,不需要定时刷新
-
DRAM:动态随机存取存储器,需要定时刷新
-
ROM:只读存储器,数据不会因掉电而丢失,读取的速度比RAM快
-
MROM:掩膜型只读存储器,通过掩膜大批量制造、成本低,缺点是同批数据全部一致且不可修改,只适合大批量生产
-
PROM:可编程只读存储器,可以用专用编程设备一次性烧录数据,适合少量制造
-
EEPROM:可擦可编程只读存储器,优点是写入的数据可以通过紫外线擦除重写
-
EEPROM:电可擦可编程只读存储器,优点是写入的数据可以通过电压来清除,但是清除的速度很慢
-
Flash:快闪存储器,优点是可以联机擦写数据且擦写的次数多、速度快,缺点是读取的速度慢
外存储器

一、概述
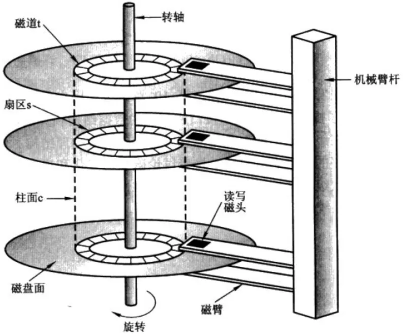
磁盘中有多个盘面,盘面两面都可存储信息,使用磁头从盘面读取信息;每个盘面可分成多个扇区,每个盘面可分成多个圆形磁道;在不同盘面上的相同位置的扇区成为柱面;读信息时由多个磁头同时读,就会读取同一柱面信息;为什么要有扇区,扇区将磁道分块?应该是读块信息,传输块信息,处理块信息...
磁盘是共享设备,但为了信息安全,系统在每一时刻只允许一个进程启动磁盘进行I/O操作。
二、调度操作
-
移臂调度:寻找柱面(磁道),按照调度算法调度
-
旋转调度:寻找扇区,按照单向循环寻找
三、移臂调度算法
-
先来先服务,FCFS
-
最短寻道时间优先,SSTF,可能产生“饥饿”现象
-
扫描算法,SCAN,双向扫描,又称“电梯算法”
-
循环扫描,CSCAN,单向扫描
四、旋转调度算法
-
进程请求访问的是同一磁道上不同编号的扇区。
-
进程请求访问的是不同磁道上不同编号的扇区。
-
进程请求访问的是不同磁道上具有相同编号的扇区。
*注:对于1和2,旋转调度总是让首先到达读/写磁头位置下方的扇区先进行传送操作;对于3,旋转调度可以任选一个读/写磁头位置下的扇区进行传送操作。
五、时间
-
寻道时间:移动到磁道时长,移臂调度
-
旋转延迟时间:移动到扇区时长,旋转调度
-
数据传输时间:读扇区时长
六、真题
以2022年11月真题为例可得到以下结论,(当前位于20号柱面,使用最短移臂调度算法)
-
磁头号是干扰项,因为无论是移臂操作还是旋转操作都与磁头号无关
-
当前20号柱面,所有最先响应的是④或⑥,寻找扇区是旋转操作,且是单向,所以顺序是④⑥
-
其次是⑨
-
再次是①或⑤或⑦,再结合旋转操作,所以顺序是⑤①⑦或⑤⑦①
-
最后是②或③或⑧,再结合旋转操作,所以顺序是②⑧③
-
总顺序是④⑥⑨⑤①⑦②⑧③或④⑥⑨⑤⑦①②⑧③
|
请求序列 |
柱面号 |
磁头号 |
扇区号 |
|---|---|---|---|
|
① |
18 |
8 |
6 |
|
② |
16 |
6 |
3 |
|
③ |
16 |
9 |
6 |
|
④ |
21 |
10 |
5 |
|
⑤ |
18 |
8 |
4 |
|
⑥ |
21 |
3 |
10 |
|
⑦ |
18 |
7 |
6 |
|
⑧ |
16 |
10 |
4 |
|
⑨ |
22 |
10 |
8 |
1.1.3 总线
总线分类
一、按照连接方式分类
-
内部总线:芯片级别的总线
-
外部总线:设备级总线。RS232(串行总线),SCSI(并行总线),USB(通用串行总线)
二、按照功能分类
-
系统总线:扳级总线。ISA,EISA,PCI
-
数据总线:在CPU和RAM间传递数据,根数决定CPU一次可读取二进制数据的位数,一般同时也是字长
-
地址总线:定位RAM中的数据,计算机可寻址范围
-
控制总线:将微处理器控制单元的信号传送到周边设备
三、按照结构分类
-
串行总线:慢,长距离,波特率可变,可使用程序查询与中断。I2C,USB,RS232,SPI,UART
-
并行总线:快,短距离。PCI,STD,IEEE488
-
单总线:设计复杂,性能降低
南北桥
北桥:连接着CPU、内存、显卡、南桥
南桥:连接CPU、外设
单芯片:取消了北桥(CPU内部集成控制器,不再需要北桥控制)
常见总线
ISA:工业标准总线,16位,速度16MB/s
EISA:扩展了ISA到32位,速度33MB/s
PCI:常见于微型机内总线,并行传输,即插即用,总线上设备都可以使用,同时发送时需要仲裁,32位速度133MB/s,64位速度266MB/s
PCI Express:点对点串行传输
前端总线:CPU链接到北桥
RS-232C:串行外总线,线数少,3根可实现全双工,传输距离远
SCSI:小型计算机的并行外总线
SATA:串行ATA,用于主板与存储设备,可对数据纠错
USB:串行总线,4根线,2根数据,2根电源,最多可接127个设备
-
USB1.0:低速时1.5MB/s,高速时12MB/s
-
USB2.0:480MB/s
-
USB3.0:5GB/s
IEEE-1394:高速串行外总线,6根线,2根数据线,2根控制线,2根电源线,可供电,最多可接63个设备,速度400MB/s~
IEEE-488:并行,最多可接15个设备,最远传输20m,速度500KB/s
1.1.4 输入输出控制
IO设备
-
块设备:信息存在大小相同的块中,每个块有自己的地址,如磁盘、USB闪存、CD-ROM...
-
字符设备:以字符形式接收,不可寻址,如打印机、网卡、鼠标、键盘...
-
设备控制器:南桥中包含多种IO设备的控制器,如硬盘、USB、网卡、声卡...
中断方式
-
多中断信号法
-
中断软件查询法
-
菊花链法
-
总线仲裁法
-
中断向量法
一、数据传输控制方式
确切的说应该是主机(CPU,主存)与外设的通信方式,无条件传送方式、程序查询方式、中断方式、直接存储器存取方式、输入输出通道方式、输入输出处理器方式。
-
无条件传送方式:CPU 想读就直接读、想写就直接写,完全不等外设,默认外设永远准备好。
-
程序控制(查询)方式:CPU主动查询外设是否完成数据传输,影响CPU效率。
-
程序中断方式:CPU无需等待,数据传输完成后进行中断,CPU响应中断。中断请求信号,保存现场,断点,中断向量表。
-
中断响应时间:从发出中断请求到进入中断程序间的时长。
-
中段处理时间:中断开始处理到中断处理结束的时长。
-
DMA:直接内存访问,CPU处理初始化后将总线控制权交给DMAC,DMAC进行高速、批量的数据交换,DMAC完成后将总线交给CPU。CPU完成一个总线周期后才会响应DMA请求。
-
输入输出通道方式:CPU 只需要给通道发一个任务,通道就独立完成一系列 I/O 操作。
-
输入输出处理器方式:能做复杂控制、数据处理、错误处理。
二、编址方式
内存与接口地址独立编址方法:指令也不同,用于接口的指令太少,功能太弱。
内存与接口地址统一编址方法:用于内存的指令也可用于接口。
1.2 计算机体系结构
-
宏观分类:单处理系统;并行处理与多处理系统;分布式处理系统。
-
微观分类:Flynn分类法;冯泽云分类法;Handler分类法;Kuck分类法
Flynn分类法根据指令流、数据流的多倍性特征对计算机系统进行分类,通常称为Flynn分类法。
-
SISD:单指令单数据。
-
SIMD:单指令多数据。
-
MISD:多指令单数据,很少见。
-
MIMD:多指令多数据。
1.2.1 CISC与RISC
处理器的指令集按照其复杂程度可分为复杂指令集(Complex Instruction Set Computers,CISC)与精简指令集(Reduced Instruction Set Computers,RISC)两类。CISC以Intel、AMD的x86CPU为代表,RISC以ARM和Power为代表。
|
CISC |
RISC |
|
|---|---|---|
|
指令 |
数量多,使用频率差别大,可变长格式 |
数量少,使用频率接近,定长格式,大部分为单周期指令,操作寄存器,只有Load/Store操作内存 |
|
寻址方式 |
支持多种 |
支持方式少 |
|
实现方式 |
微程序控制技术 |
增加了通用寄存器,硬布线逻辑控制为主,适合采用流水线 |
|
其他 |
研制周期长 |
优化编译,有效支持高级语言 |
一、复杂指令集 CISC(Complex Instruction Set Computing)
-
指令数量多,使用频率差别大,可变长格式
-
支持多种寻址方式
-
微程序控制技术(微码)
-
研制周期长
二、精简指令集 RISC(Reduced Instruction Set Computing)
-
指令数量少,使用频率接近,定长格式,大部分为单周期指令
-
操作寄存器,只有Load/Store操作内存
-
支持方式少量寻址方式,以寄存器寻址为主
-
增加了通用寄存器;硬布线逻辑制为主;适合采用流水线
-
优化编译,有效支持高级语言
1.2.2 流水线技术
流水线技术的前提是个操作可并行,如某条指令的取指不影响其他指令的分析与执行,并且每条指令相同阶段耗时一致,下面介绍流水线技术中的一些概念。
-
流水线建立时间:第一条执行执行时间长度。
-
流水线周期:后续的指令完成时间长度,执行时间最长的一段。
-
流水线执行时间:第一条指令时长 + (n - 1) * 流水线周期。
-
理论公式:
(t1 + t2 + ... + tk) + (n - 1) * t
-
实践公式:
k * t + (n - 1) * tk
-
每条指令操段数量,例如上面的取址、分析、执行,k=3t:流水线周期,执行时间最长的一段
-
流水线吞吐率:单位时间内流水线完成任务量,TP=指令条数/流水线执行时间。
-
流水最大吞吐率:TP=lim(n/(k * t + (n - 1) * t))=1/t。
-
流水线加速比:固定执行指令条数,不用流水线时长/使用流水线时长。
-
超流水线技术:细化流水线,增加级数和提供主频。以时间换空间。
-
超标量技术:内装多条流水线来同时执行多个处理。以空间换时间。
-
超长指令技术:提高软件的作用,简化硬件设计,性能提高。
1.2.3 阵列处理机、并行处理机和多处理机
阵列处理机:通过资源重复实现并行,是一种单指令多数据流计算机
并行处理机:SIMD,MIMD
多处理机:多台处理器组成的系统,各自独立控制,共享主存及外设
其他计算机:一般指集群,
1.3 存储系统
-
辅助存储器,外存:硬盘,光盘,U盘等,其容量能达到TB级别
-
内存:随机存储器RAM,只读存储器ROM,其容量能达到GB级别
-
Cache:按内容存取,其容量能达到MB级别
-
CPU中寄存器:最快,容量小,成本高,其容量能达到B级别
以上是4层存储体系,下面介绍几个知识点:
-
虚拟存储体系:内存+外存
-
三级存储体系:Cache+内存+外存
-
多级存储结构的目的:解决存储容量、成本和速度之间的矛盾
-
Flash 闪存:可读可写,掉电无丢失,可替代ROM,但不能替代RAM
1.3.1 高速缓存
一、命中率
命中率会随着容量的扩大而提高,但并非线性的,命中率主要由映射方式决定。
二、平均访问时间
命中率Cache访问时间+非命中率主存访问时间(默认包含了访问Cache不命中的时间)。主存与Cache之间的地址映射由硬件直接完成,映射方式如下:
-
直接相联映像:硬件电路简单,冲突率很高,Cache内分块,主存中分区,区内分块,Cache内的块只与主存中块号相同的块相联。

-
全相联映像:冲突率低,Cache内分块,主存中分块,Cache内的块可以和主存中任意块相联。

-
组相联映像:前两者折中,Cache内分组,组内分页,主存中分区,区内分组,组内分页,Cache内的页只与主存中与其组号相同的组内任意页相连,组间使用直接相联,组内使用全相联。
三、替换算法
-
LRU(Least Recently Used),最近最少使用:关注访问时间。
-
LFU(Least Frequently Used),最不经常使用算法,置换使用次数最少的页面,关注访问次数。
-
FIFO(First-In, First-Out),先进先出:实现简单,但性能差,会有 Belady 现象。
-
Random Replacement,随机使用算法,
-
MRU(Most Recently Used),最近最常使用,关注访问时间。
-
MFU,最常使用算法,置换访问次数最多的页面,关注访问次数。
-
NRU,最近未使用算法:按使用位修改位将页面分成四类,访问位的优先级要高于修改位。
-
ARC(Adaptive Replacement Cache)
-
2Q,结合fifo与lru
-
Clock Algorithm,时钟算法/第二机会算法:类似FIFO,增加了使用位,通过判定使用未来置换。
-
改进时钟算法,增加修改位,访问位的优先级要高于修改位。
-
OPT,最优页面置换算法:置换未来最久不使用的页面,最理想的算法,但无法实现。
1.3.2 虚拟存储器
对主存的抽象,成为虚拟存储器,使用虚拟地址(CPU生成),使用MMU将虚拟地址转换成物理地址。后续在操作系统中会介绍段页式存储。
1.3.3 相联储存器
是一种按照内容访问的设备,其工作原理是把数据或者数据的一部分作为关键字,将关键字与每个存储单元进行比较,找出存储器中与关键字相同的数据字。
可用在高速缓冲存储器中,在虚拟存储器中用来作段表、页表或者快表存储器,用在数据库和知识库中。


1.3.4 磁盘阵列技术
RAID-0
是一种不具备容错能力的磁盘阵列,由N个磁盘组成的0级阵列,数据均匀存储在N个磁盘中。其平均故障间隔时间(MTBF)是单个磁盘的1/N,数据传输率是单个磁盘的N倍。

RAID-1
将数据完全一致地分别写到工作磁盘和镜像磁盘,它的磁盘空间利用率为50%。

RAID-01

RAID-10

RAID-2
纠错海明码磁盘阵列,其设计思想是利用海明码实现数据校验冗余并存在校验磁盘中。磁盘数量取决于所设定的数据存储宽度,可由用户设定。数据宽度为4的RAID2 ,它需要4块数据磁盘和3块校验磁盘。如果是64位数据宽度,则需要64块数据磁盘和7块校验磁盘。


RAID-3
使用专用校验盘的并行访问阵列,它采用一个专用的磁盘作为校验盘,其余磁盘作为数据盘,数据按位可字节的方式交叉存储到各个数据盘中。至少需要三块磁盘,不同磁盘上同一带区的数据作 XOR 校验,校验值写入校验盘中。

RAID-4
RAID-4 与 RAID-3 的原理大致相同,区别在于条带化的方式不同,也是采用一个专用的磁盘作为校验盘。

RAID-5
原理与 RAID-4 相似,是RAID-4 的改进,对区别在于校验数据分布在阵列中的所有磁盘上。至少需要3个磁盘。N+1方案,N份数据+1份校验。当盘容量不同以最小容量为准。

RAID-6
前面所述的各个 RAID 等级都只能保护因单个磁盘失效而造成的数据丢失。如果两个磁盘同时发生故障,数据将无法恢复。 RAID-6 引入双重校验的概念,它可以保护阵列中同时出现两个磁盘失效时,阵列仍能够继续工作,不会发生数据丢失。 RAID-6 等级是在 RAID-5 的基础上为了进一步增强数据保护而设计的一种 RAID 方式,它可以看作是一种扩展的 RAID-5 等级。至少需要 4 个磁盘。

|
RADI级别 |
RAID-0 |
RAID-1 |
RAID-3 |
RAID-5 |
RAID-10 |
|---|---|---|---|---|---|
|
别名 |
条带 |
镜像 |
专用奇偶条带 |
分布奇偶条带 |
镜像阵列条带 |
|
容错性 |
没有 |
有 |
有 |
有 |
有 |
|
冗余类型 |
没有 |
复制 |
奇偶校验 |
奇偶校验 |
复制 |
|
热备盘选项 |
没有 |
有 |
有 |
有 |
有 |
|
磁盘数 |
至少1个 |
2的倍数 |
至少3个 |
至少3个 |
4的倍数 |
|
可用量 |
100% |
50% |
(N-1)/N |
(N-1)/N |
50% |
|
典型应用 |
无故障的迅速读写,要求安全性不高,如图形工作站 |
随机数据写入,要求安全性能高,如服务器、数据库等 |
连续数据传输,要求安全性能高,如视频编辑、大型数据库等 |
随机数据传输,要求安全性能高,如金融、数据库、存储等 |
要求数据量大,安全性能高,如银行、金融等 |
1.3.5 存储器网络
-
一种连接存储设备和存储管理子系统的专用网络,提供数据存储和管理功能,未来的信息存储将以SAN为主
-
利用专用高速通信架构将服务器与其逻辑磁盘单元(Logical Disk Unit,LDU)相连
-
可被看做是负责数据传输的后端网络,前端网络负责正常的TCP/IP传输
-
SAN的设计消除了单点故障,具有极高可用性和故障恢复能力
-
用户可把SAN看作是通过特定的互连方式连接的若干台存储服务器组成
-
常见的SAN协议:光纤通道协议,Internet小型计算机系统接口,以太网光纤通道,基于光纤通道的非易失性内存标准
-
分为:IP-SAN、FC-SAN
-
FC-SAN:光纤通道交换机,成本高,性能好,支持块级应用
-
IP-SAN:以太网交换机,更加经济的存储方案,支持块级应用
1.4 安全性、可靠性与系统性能评测基础知识
1.4.1 计算机安全概述
-
机密性:保证信息不泄露给未授权的用户、实体或过程
-
完整性:得到允许的人才能修改数据,能够判别出数据是否已被篡改
-
可用性:得到授权的实体在需要时可访问数据
-
可控性:可以控制授权范围内的信息流向及行为方式
-
可审查性:对出现的信息安全问题提供调查的依据和手段

|
类型 |
主动性 |
手段及措施 |
|---|---|---|
|
窃听 |
被动 |
|
|
嗅探 |
被动 |
|
|
流量分析 |
被动 |
|
|
拒绝服务 DOS,DDOS |
主动 |
手段:发送大量正常报文,其主机无法正常提供服务; 措施:部署流量清洗设备,购买流量清洗设备,部署CSN系统,部署DDOS防火墙,部署IPS设备,做好负载均衡等措施 |
|
CC |
主动 |
手段:与DDOS类似,只不过层次不同,DDOS针对的是IP数据,CC针对的是应用层数据,如HTTPS等,模拟大量用户的访问 通过控制大量的一般攻击者、代理服务器、肉鸡对被攻击者发起大流量攻击 |
|
重放 |
主动 |
手段:攻击者发送一条被攻击者已经收到的报文,欺骗 |
|
SQL注入 |
主动 |
手段:使用WAF设备、IPS防御 |
|
XSS |
主动 |
手段:上传恶意的HTML代码,使用WAF设备、IPS防御 |
|
诽谤 |
主动 |
|
|
假冒 |
主动 |
|
|
非授权访问 |
主动 |
|
|
破坏完整 |
主动 |
|
|
MAC-Flooding |
主动 |
手段:伪造大量虚假MAC地址 淹没交换机的MAC地址表; 措施:限制MAC数量;静态绑定MAC |
|
勒索病毒 |
主动 |
手段:通过文件共享端口445加密文件。特征码:.locky, .locked, lock, .crypt, .crypted, .crypto, .enc, .aes, .cry; 措施:
|
1.4.2 加密技术与认证技术
对称密钥加密算法中加密密钥和解密密钥是相同的,称为共享密钥算法或对称密钥算法:
-
数据加密标准DES,56位密钥,分组长度64
-
三重DES,112位密钥,其实质是使用两把密钥对报文做三次DES加密
-
用密钥K1进行DES加密
-
用K2对步骤(a)的结果进行DES解密
-
对步骤(b)的结果使用密钥K1进行DES加密
-
国际数据加密算法IDEA,128、192、256位密钥,分组长度128
-
高级加密标准AES,支持128、192和256位3种密钥长度
-
RC-5
非对称加密算法中使用的加密密钥和解密密钥是不同的,称为不共享密钥算法或非对称密钥算法:
-
RSA,512位,基于大素数,密钥长度最大高达2048位
-
选两个大素数,p和q
-
令n=p*q,z=(p-1)*(q-1)
-
符合公式,e*d/z余数1,e是公钥,d是私钥

-
ECC
-
Elganal
-
背包算法
-
Rbin
-
D-H
-
签名算法:SM3 with SN2
|
名称 |
功能 |
|---|---|
|
SM1 |
对称加密,分组长度和密码长度都是128比特 |
|
SM2 |
非对称加密,公钥机密算法,密钥交换协议,数据签名算法,基于椭圆曲线离散对数问题 |
|
SM3 |
杂凑算法(哈希),分组512位,输出杂凑值长度256位 |
|
SM4 |
对称加密,分组长度和密码长度都是128位 |
|
SM9 |
标识密码算法,支持公钥加密,密钥交换,数字签名1 |
|
类型 |
名称 |
对称性 |
说明 |
秘钥长度 |
分组长度 |
安全性 |
威胁 |
|---|---|---|---|---|---|---|---|
|
DES |
数据加密标准 |
对称 |
数据加密标准,速度较快,适用于加密大量数据的场合 |
56 |
64 |
秘钥长度; 混淆; 扩散; 轮数设计; |
暴力破解; 侧信道攻击; |
|
3DES |
三重DES加密 |
对称 |
在DES基础上,用2个不同的秘钥进行3次加密,强度更高 |
112 |
64 |
||
|
IDEA |
国际数据加密算法 |
对称 |
国际数据加密算法,使用128位密钥提供非常强的安全性 |
128 |
64 |
||
|
AES |
高级加密标准 |
对称 |
高级加密标准,下一代加密算法标准,速度快,安全级别高 |
128、192、256 |
64 |
||
|
RC4 |
流加密算法 |
对称 |
|||||
|
MD5 |
信息-摘要算法 |
128 |
512 |
抗碰撞性; 抗原像性; 雪崩效应; 输出长度; |
长度扩展攻击; 量子计算; |
||
|
SHA |
安全散列算法 |
160 |
512 |
||||
|
RSA |
基于大素数分解 |
非对称 |
数学难题复杂度; 秘钥长度; 随机性质量; 填充方案; |
量子计算威胁; 数学突破; |
|||
|
ECC |
椭圆曲线密码编码学 |
非对称 |
|||||
|
Elgamal |
基于离散对数 |
非对称 |
|||||
|
DH |
非对称 |
||||||
|
DSA |
非对称 |
数字签名是公钥加密技术与数字摘要技术的应用:
一、数字签名的条件
-
签名是可信的
-
签名不可伪造
-
签名不可重用
-
签名的文件是不可改变的
-
签名是不可抵赖的
二、数字签名的应用
-
确定性:消息确定是对方发送的,是可信的、不能伪造的,不能重用的、不能修改的
-
不可否认性:对方不可否认发送过该消息
-
不可修改性:自己无法修改收到的消息
-
对称密钥加密消息,非对称密钥加密对称密钥
-
使用对方公钥对消息加密,使用自己私钥对密文签名
-
使用对方公钥对签名认证,使用自己私钥对密文解密
-
加密体系:公钥加密,私钥解密
-
签名体系:私钥加密(签名),公钥解密(认证)
1.4.3 计算机可靠性
-
平均失效间隔时间 MTBF,Mean Time Between Failure,MTBF=MTTF+MTTR,两次故障平均间隔
-
平均无故障时间 MTTF,Mean Time To Failure,平均正常运行时间?
-
平均失效修复时间 MTTR,Mean Time To Restoration/Repair,故障修改所需的平均时间
-
可靠性一般使用MTTF/MTBF表示
-
可用性一般使用MTBF/(MTBF+ MTTR)表示?
-
可维护性一般使用1/(MTTR+ 1)表示?
1.4.4 计算机系统的性能评价
一、计算机的性能指标
时钟频率,运算速度,运算精度,内存容量,存储器存储周期,数据处理速率,吞吐率,各种响应时间,各种利用率,RASIS特性(可靠性,可用性,可维护性,完整性和安全性),平均故障时间,兼容性,可扩展性,性能价格比。
二、路由器的性能指标
设备吞吐量,端口吞吐量,全双工线速转发能力、背靠背帧数、路由表能力、背板能力、丢包率,时延,时延抖动、VPN支持能力、内部时钟精度、队列管理机制、端口硬件队列数、分类业务带宽保证、RSVP、IP DiffServ、CAR支持、冗余、热插拔组件、路由器冗余协议、网管、基于Web的管理、网管类型、带外网管支持、网管粒度、计费能力/协议、分组语音支持方式、协议支持、语音压缩能力、端口密度、信令支持。
三、交换机的性能指标
交换机类型、配置、支持的网络类型、最大ATM端口数、最大SONET端口数、最大FDDI端口数、背板吞吐量、缓冲区大小、最大MAC地址表大小、最大电源数、支持协议和标准、路由信息协议(RIP)、RIPv2、开放式最短路径优先第2版、边界网关协议(BGP)、无类别域间路由(CIDR)、互联网成组管理协议(IGMP)、距离矢量多播路由协议(DVMRP)、开放式最短路径优先多播路由协议(MOSPF)、协议无关的多播协议(PIM)、资源预留协议(RSVP)、802.1p优先级标记,多队列、路由、支持第3层交换、支持多层(4~7层)交换、支持多协议路由、支持路由缓存、可支持最大路由表数、VLAN、最大VLAN数量、网管、支持网管类型、支持端口镜像、QoS、支持基于策略的第2层交换、每端口最大优先级队列数、支持基于策略的第3层交换、支持基于策略的应用级QoS、支持最小/最大带宽分配、冗余、热交换组件(管理卡、交换结构、接口模块、电源、冷却系统)、支持端口链路聚集协议、负载均衡。
四、网络的性能指标
设备级性能指标,网络级性能指标,应用级性能指标,用户级性能指标,端口吞吐量。
五、操作系统的性能指标
系统上下文切换、系统响应时间、系统的吞吐率、系统资源利用率、可靠性和可移植性。
六、数据库管理系统的性能指标
数据库大小,数据库中表的数量,单个表大小,表中允许的记录行数,单个记录大小,表上允许的,索引数量,数据库允许的索引数量,最大并发事务处理能力,负载均衡能力,最大连接数。
七、WEB服务器的性能指标
最大并发连接数,响应时间,吞吐量。
一、基准测试程序:
应用程序中用得最多、最频繁的那部分核心程序作为评价计算机性能的标准程序
二、准确程度依次递减:
真实的程序、核心程序、小型基准程序和合成基准程序
三、Web服务器的性能评估:
最大并发连接数、响应延迟和吞吐量,常见的Web服务器性能评测方法有基准性能测试、压力测试和可靠性测试
四、系统监视:
-
系统本身提供的命令,如UNIX/Linux中的ps、last、Windows中的netstat等
-
系统记录文件查阅系统在特定时间内的运行状态
-
集成命令、文件记录和可视化技术,如Windows的Perfmon应用程序


评论